小中大
天眼查App显示,近日,深圳市丰巢科技有限公司申请注册多个丰巢惠团商标,申请日期为10月23日,国际分类涉及方便食品、材料加工、教育娱乐等,商标状态均为等待实质审查。...
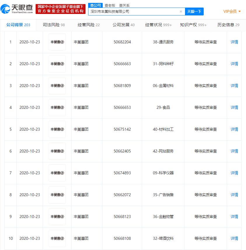
天眼查App显示,近日,深圳市丰巢科技有限公司申请注册多个“丰巢惠团”商标,申请日期为10月23日,国际分类涉及方便食品、材料加工、教育娱乐等,商标状态均为“等待实质审查”。

责编:hw
顶 (1)
踩 (0)
相关文章
尚未注册畅言帐号,请到后台注册



