小中大
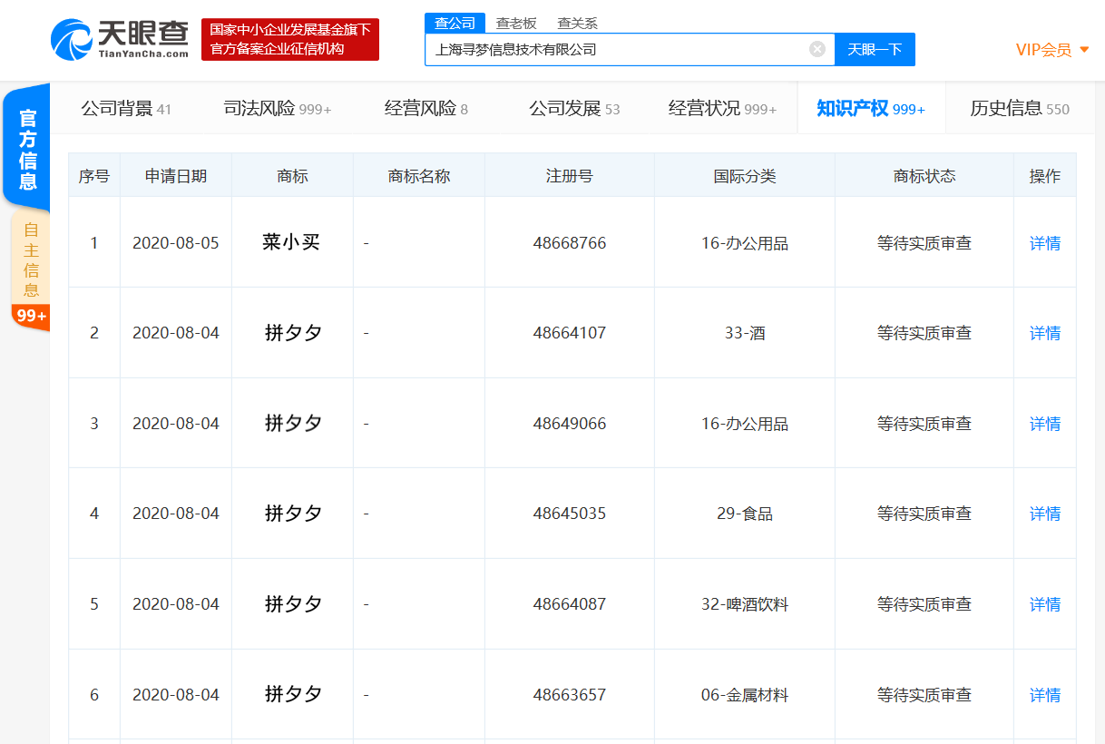
天眼查App显示,近日,上海寻梦信息技术有限公司新增一条商标信息 菜小买,国际分类为办公用品,申请日期为2020年8月,商标状态为等待实质审查。该公司还曾于2020年7月申请多条多多买菜商标,国际分类涉及网站服务、运输贮藏、社会服务等。上海寻梦信息技术...
天眼查App显示,近日,上海寻梦信息技术有限公司新增一条商标信息 “菜小买”,国际分类为办公用品,申请日期为2020年8月,商标状态为等待实质审查。该公司还曾于2020年7月申请多条“多多买菜”商标,国际分类涉及网站服务、运输贮藏、社会服务等。上海寻梦信息技术有限公司由杭州埃米网络科技有限公司全资持股。

责编:hw
顶 (0)
踩 (0)
相关文章
luckinco ffee旗舰店正式入驻拼多多
2020-08-25 10:30
拼多多关联公司申请夕夕饼、夕夕糕商标
2020-08-25 10:19
拼多多:二季度营收121.9亿元,市场预期121.52亿元
2020-08-24 11:03
背靠拼多多的多多买菜将蚕食超市业绩?是,且影响可能极大
2020-08-24 09:12
黄峥退出拼多多(上海)网络科技有限公司董事
2020-08-20 15:02
多多买菜:拼多多的社区团购防守战
2020-08-19 11:18
拼多多关联公司申请注册“拼夕夕”商标,国际分类为“酒”
2020-08-18 14:37
农夫山泉与拼多多达成战略合作
2020-08-13 11:48
尚未注册畅言帐号,请到后台注册



